Следующие Apple Watch могут иметь больше возможностей для использования как на запястье, так и без него.

Apple думает, как изменить дизайн Apple Watch и ремешка, чтобы часы можно было быстро надевать и снимать, позволяя владельцам снимать их с запястий и использовать в качестве небольшого портативного устройства.
Apple постепенно создает Apple Watch как отдельное устройство, все меньше зависящее от пользователей, имеющих iPhone .
Согласно недавно выданному патенту «Watch With a Release Mechanism», Apple считает, что ношение часов на запястье — это одновременно и хорошо, и плохо.
«Наручные часы и другие носимые устройства, как правило, привлекательны для пользователей из-за их портативности, эстетической привлекательности или особых функциональных возможностей, которые они могут предложить в зависимости от того, что они носятся или крепятся близко к телу пользователя», — говорится в патенте.
«К сожалению, существующие носимые устройства по-прежнему ограничены набором функций, которые они предлагают, или их удобством использования для многих желаемых функций», — говорится в патенте.
В патенте четко указано, что эти ограничения включают технологические, но он не нацелен на то, что может быть внутри часов или для чего часы могут использоваться. Однако Apple описывает преимущества.
«Это может быть полезно, например, для того, чтобы датчики, такие как камера в корпусе часов, могли работать, когда пользователь держит их в свободной руке или иным образом снимает с запястья пользователя», — говорится в патенте.
«Механизм крепления часов может позволить интегрировать новые или полезные функции в корпус часов, которые могут оказаться невозможными или непрактичными для работы, пока корпус часов удерживается на (запястье) пользователя».

Помимо этого описания, патент касается того, как облегчить более широкое использование, сделав корпус часов быстросъемным.
«[Например] часы могут иметь механизм крепления, который позволяет быстро и эргономично снять корпус часов или основной корпус с запястья пользователя», — говорится в патенте. «Это может быть полезно, например, для того, чтобы датчики, такие как камера в корпусе часов, могли работать, удерживая их в свободной руке пользователя или иным образом снимая с запястья пользователя».
«Механизм крепления часов может позволить интегрировать новые или полезные функции в корпус часов, которые могут быть невозможны или непрактичны для работы, пока корпус часов остается на часах пользователя», — говорит Apple.
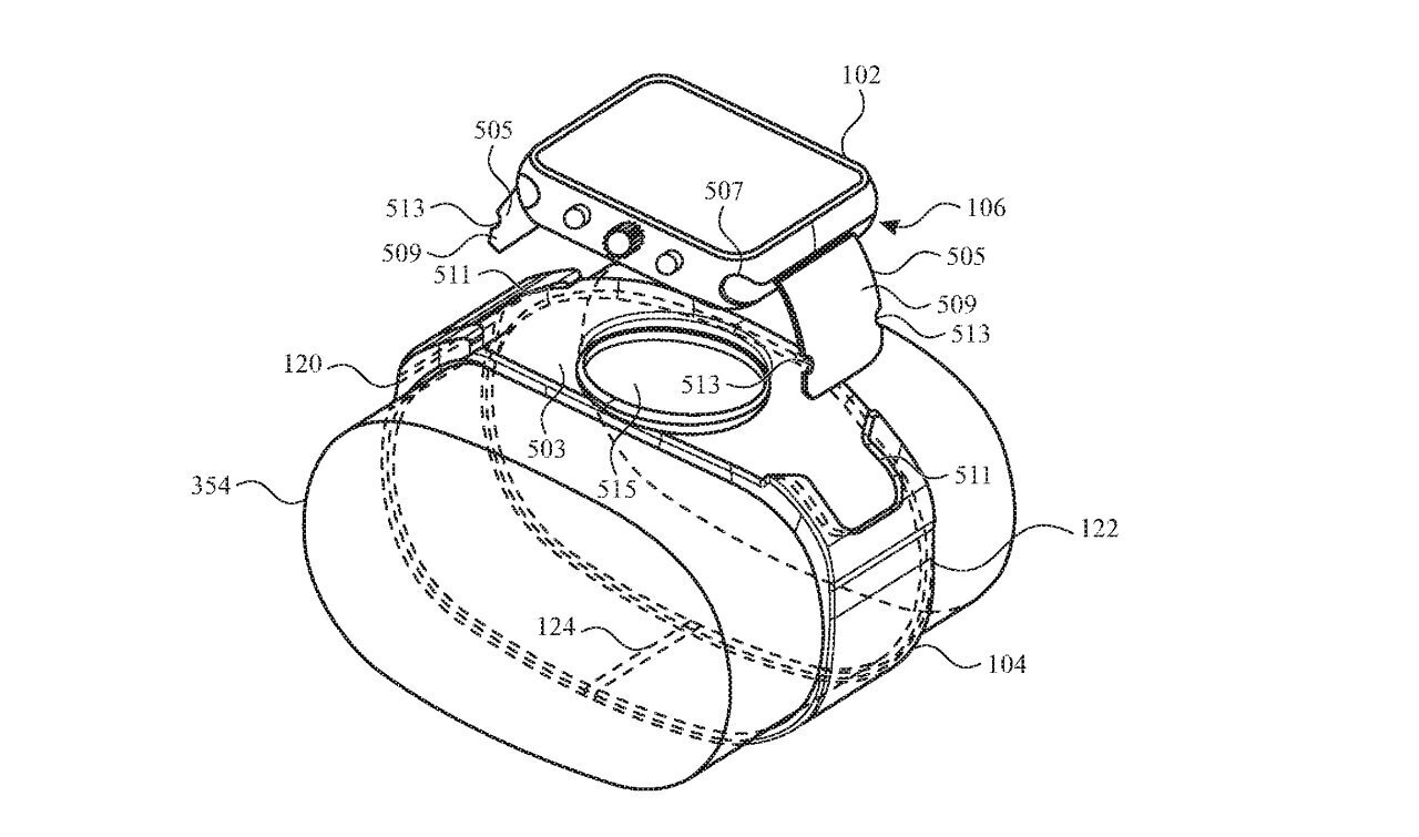
В патент включены несколько предложений по «механизму крепления», но первое и, возможно, основное из них связано с жестким ремешком. Возможно, весь ремешок может напоминать браслет, но именно та часть, которая находится под Apple Watch, должна быть прочной.
«Механизм крепления может быть реализован с помощью механизма гнездового типа, — говорит Apple. В котором ремешок для часов может оставаться обернутым вокруг запястья пользователя после снятия корпуса с запястья пользователя или повторного прикрепления корпуса к запястью».
Возможность снять часы с ремешка бесполезна, если вам придется возиться, чтобы снова прикрепить их. Apple ссылается на необходимость «быстрого или эргономичного снятия корпуса часов или основного корпуса».
Под «гнездом» Apple подразумевает наличие отверстия в ремешке, где могут сидеть часы. Нижняя часть часов, где находятся датчики, может попасть в дыру.
Похоже, что Apple намерена отказаться от нынешнего способа крепления ремешков, но это не обязательно так. Поскольку среди других вариаций этой идеи в патенте остаются разъемы старого типа, и отсоединяется только часть часов.

Цель Apple состоит в том, чтобы иметь устройство, которое, с другими неуказанными технологическими достижениями, можно было бы носить на запястье, но снимать для выполнения другой работы.
Это то, на чем сосредоточен этот недавно выданный патент, но он также кратко признает, что все это может оказаться просто другим способом надевания Apple Watch.
«Дополнительно или в качестве альтернативы, — говорит Apple, — механизм крепления может обеспечить более быстрое, эргономичное или удобное снятие часов или компонентов часов с запястья пользователя без необходимости использовать застежку, пряжку или запорный механизм. Которые могут быть относительно более громоздкими в эксплуатации или располагаться относительно далеко от корпуса часов (например, на противоположной стороне запястья пользователя)».
Как относитесь к технике apple?
Проголосуйте, чтобы увидеть результаты