Хорус, флэнджер, фейзер, вибрато, тремоло
Раздел 3.2 из книги В.А. Никамин "Микшерные пульты. СПб, 2009. 80 с.
Эти звуковые эффекты также основаны на использовании задержки основного сигнала, однако кроме этого, здесь применяется еще и модуляция обрабатываемого сигнала по частоте.
Обобщенная функциональная схема, показанная на рис. 3.5, иллюстрирует получение эффекта «хорус» («Chorus») и эффекта «вибрато»(«Vibrato») как частного случая хоруса.
В отличие от звуковых эффектов только на базе задержки основного сигнала, которые применяются для обработки голоса, эффекты, использующие еще и модуляцию, применяются чаще всего для обработки звучания музыкальных инструментов – в первую очередь электрогитар, реже – клавишных, а также для создания вокальных спецэффектов.

Если копию исходного сигнала (скажем, от электрогитары) немного задержать, промодулировать по частоте, а потом сложить с исходным сигналом, то полученное звучание будет напоминать одновременное звучание нескольких гитар, каждая из которых слегка расстроена относительно других. Получается своего рода «хор» из гитар, который и обозначается словом «chorus», которое по-русски означает «хор». За счет задержки создается эффект некоторой неодновременности звучания – как это и бывает в реальной жизни, а модуляция имитирует расстройку отдельных инструментов.
Оптимальная величина задержки 20–50 мс при создании эффекта «хорус». При более коротких задержках получается нечто напоминающее другой спецэффект – «флэнджер» (см. ниже), который легко узнать по своеобразному «летающему» звучанию. При большей величине задержки получается модулированное «эхо».
Оптимальная частота модуляции – 0,3–1,0 Гц. При меньших величинах задержки действие «хоруса» становится почти незаметным, при больших – звучание получается довольно резким и не очень приятным.
Глубина модуляции подбирается на слух. Следует отметить только, что при слишком малой глубине модуляции «хорус» малозаметен, а при слишком большой возникает впечатление, что инструменты сильно расстроены.
Сигнал «хоруса» можно подать в цепь обратной связи (переключатель «Кратность обработки»), тогда в выходной сигнал будут включены его повторные отражения – как при создании эффекта «мультиэхо». Уровень этих отражений, а следовательно, и их количество до полного затухания, регулируются ручкой потенциометра «Обратная связь». На показанной схеме (рис. 3.5) максимальная кратность обработки исходного сигнала «хорусом» равна двум, однако она может быть также равна и трем.
Уровень исходного сигнала и уровень «хоруса» в выходной смеси можно регулировать независимо друг от друга с помощью соответствующих ручек.
Эффект «вибрато» можно получить, если отключить от выходного сумматора основной сигнал (включив, таким образом, эффект «вибрато»).
В общем случае эффект вибрато – это модуляция звукового сигнала либо по частоте, либо по амплитуде. Соответственно, различают частотное и амплитудное вибрато. Кроме того, существует еще и тембровое вибрато, когда производится модуляция тембра звучания инструмента. Но об этом – чуть позже. Однако на практике, словом «вибрато» (без уточняющих прилагательных) чаще всего обозначают именно частотное вибрато, а не какое-то другое. Схема рис. 3.5 относится как раз к этому случаю, поскольку она производит модуляцию звукового сигнала по частоте.
Амплитудное вибрато, как следует из его названия – это периодическое изменение амплитуды звукового сигнала. Формируется оно при помощи усилителя управляемого напряжением VCA (Voltage Control Amplifier), сигнал управления коэффициентом усиления которого вырабатывается генератором низкой частоты (рис. 3.6). При этом сигнал управления может иметь синусоидальную, треугольную, логарифмическую и т. д. формы. Вполне естественно, что различным законам модуляции будут соответствовать и различные звуковые эффекты. Оптимальная частота амплитудного вибрато 6–8 Гц. Амплитудное вибрато при частоте модуляции 10–12 Гц и глубине модуляции 100% имеет свое собственное название – «тремоло».
При обработке амплитудным вибрато голосовых партий следует помнить, что глубина модуляции не должна быть слишком большой, а использование тремоло и вовсе недопустимо.
Тембровым вибрато можно назвать результат использования эффекта «флэнджер».
Эффект «флэнджер» («flanger») похож по реализации на «хорус», но здесь модулируется не высота задержанного сигнала, а величина этой самой задержки (рис. 3.7), причем величина задержки должна быть очень небольшой – порядка нескольких миллисекунд (1–15 мс). Иногда для получения каких-нибудь спецэффектов устанавливают и большую задержку – до 30 мс.

Физика «флэнджинга» (так называется процесс создания этого эффекта) проста. Величины задержек соизмеримы с длинами волн звуковых колебаний, формируемых музыкальными инструментами, поэтому в каждый отдельно взятый момент времени задержка оказывается равной ровно половине длины волны одного из колебаний спектра – т. е. в противофазе с тем же колебанием исходного сигнала. В результате сложения исходного колебания с задержанным они взаимно уничтожатся, и звук данной частоты исчезнет из спектра выходного сигнала (рис. 3.8). Кроме того, в большей или меньшей степени будут ослаблены и колебания соседних с данным звуком частот, где сложение будет только частичным. Нетрудно догадаться, что при этом изменится и тембр звучания. Задержка постоянно меняется под воздействием модулирующего сигнала, поэтому подавляемая частота будет постоянно перемещаться по оси частот то в одну, то в другую сторону. Следовательно, по этому же закону будет меняться и тембр звучания.
В результате получается весьма необычный эффект «скольжения» звука, который очень украшает звучание инструмента. Чаще всего «флэнджер» применяется при обработке звучания электрогитары, а также в синтезаторах и электроорганах. Был одним из наиболее излюбленных эффектов у музыкантов 60–70-х гг.


Эффект «фейзер» («fazer») отличается от «флэнджера» тем, что здесь вместо одного элемента задержки используется, как правило, целый набор таких элементов. Задержка на каждом элементе соответствует одной из частот звукового спектра, т. е. максимальная величина задержки равна половине длины волны некоторой заданной частоты. При модуляции задержки сигналом генератора низкой частоты сдвиг фаз между исходным сигналом данной частоты и задержанным изменяется от 0 до 180°, т. е. состояние этих сигналов меняется от синфазного до противофазного. Другими словами, сигнал данной частоты то увеличивается в 2 раза, когда оба сигнала синфазны, то полностью исчезает, когда сигналы в противофазе. Для расширения возможностей эффекта элемент задержки часто охватывается регулируемой петлей обратной связи.

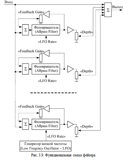
Рассмотрим функциональную схему фейзера (рис. 3.9), работающую следующим образом. Исходный сигнал поступает на выходной сумматор и одновременно на входы нескольких элементов задержки. Этих элементов может быть 2, 4, 8 или любое другое количество. В отечественной литературе и на слэнге радиолюбителей элементы задержки в данном применении принято называть «фазовращателями», отражая тем самым их способность изменять фазу входного сигнала. В англоязычной литературе такой элемент называется «AllpassFilter» – «всепропускающий фильтр», т. е. фильтр, который пропускает все частотные составляющие спектра сигнала без изменения уровня – не ослабляя и не усиливая их. Изменяется при этом только фазовый сдвиг.
Частоты настройки фазовращателей (будем называть их так) выбираются, как правило, в соответствии с логарифмической (или октавной) шкалой, например, для 4-звенного фейзера, они могут составлять 500 Гц, 1, 2 и 4 кГц. Сигналы с выходов фазовращателей регулируются по величине с помощью ручки «Depth» («глубина»), на оси которой совмещены регуляторы всех звеньев, и суммируются с исходным сигналом. При сдвиге фаз во всех звеньях, равным или близким к 180°, и глубине модуляции, близкой к максимальной, осциллограмма сигнала на выходе фейзера будет выглядеть примерно так, как показано на рис. 3.10. Провалы характеристики соответствуют тем частотам, которым соответствует сдвиг фазы в 180°.

Сдвиг фазы модулируется сигналом генератора низкой частоты – LFO (LowFrequencyOscillator), частота генерации которого – порядка единиц герц. Эта частота устанавливается сразу для всех звеньев фейзера ручкой «LFORate». При этом АЧХ фейзера будет перемещаться вправо-влево вдоль оси частот – при уменьшении сдвига фаз – вправо (в сторону более высоких частот), при увеличении – влево (в сторону более низких частот). Ручкой «Feedback» можно регулировать глубину обратной связи, что влияет на величину подъемов характеристики перед впадинами.
Звучание сигнала, обработанного фейзером, как правило, более насыщенно в сравнении с флэнджером – по понятным причинам: искажения АЧХ здесь присутствуют сразу на нескольких частотах, если, конечно, фейзер не однозвенный.

Спасибо за информацию
Понятно, что ничего не понятно 😂
)))))))))))))))))). Все равно спасибо!!!
Ну это для музыкантов и звукоинженеров - им понятно...
Жить не могу без фленжера, постоянно использую такие примочки.
Да, красиво звучит...
Интересно!