У Apple, несомненно, есть много патентов на добавление камеры в Apple Watch

Патенты могут дать представление о том, о чем думает компания, даже если они не гарантируют, что продукт находится в разработке. И вот еще одна информация о камере Apple Watch.
Хотя патенты на гаджеты ничего не гарантируют, они могут дать представление о областях, которые исследует компания. Ранее на этой неделе Apple получила патент (US-11571048-B1) на механизм снятия ремешка Apple Watch, который потенциально может использоваться со встроенной камерой. Это само по себе отличная идея, но это также третий патент Apple Watch, связанный с камерой, который мы видели за последние годы. Заявка на патент была первоначально подана в 2019 году, поэтому инженеры Apple явно некоторое время носили носимые камеры в мозгу.
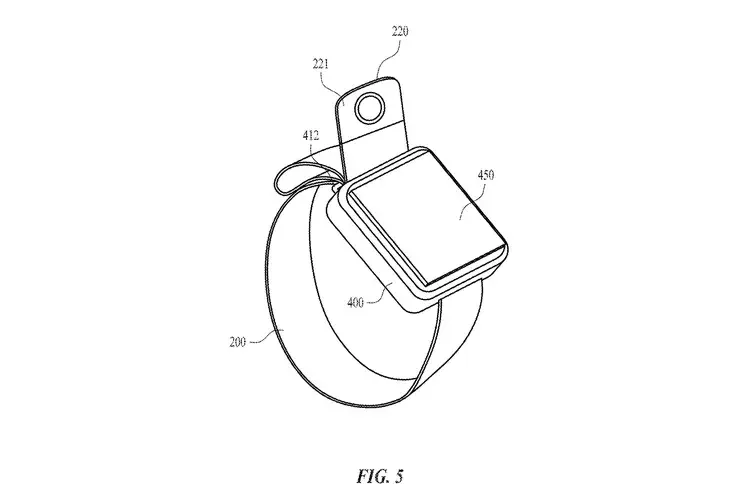
Впервые замеченный компанией Patently Apple, в разделе аннотации и описания патента подробно описан ремешок с двумя сегментами и “гнездовой” частью. Концепция заключалась в создании быстрого и эргономичного способа извлечения часов из ремешка.
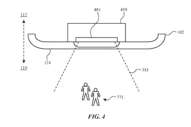
Это, в свою очередь, может открыть новые способы использования Apple Watch, которые не ограничиваются использованием наручных часов, как указано в разделе претензий, при съемке с помощью встроенной камеры. На рисунке 3 в патенте изображен человек, держащий часы без бретелек, чтобы сделать снимок. На рисунке 4 показан поперечный разрез Apple Watch со встроенной камерой, расположенной снизу, и ее поле зрения. Итак, вы, по сути, вытаскиваете часы, поднимаете часть камеры и делаете снимок.


Как явно отмечает Apple, это даже не первый случай, когда Apple подает заявки на патенты, связанные с камерой, для Apple Watch. В прошлом году Apple получила еще один патент, просто озаглавленный “Часы с камерой”. В нем описан сценарий, в котором камера была помещена в цифровую корону, и одна из диаграмм в основном идентична рисунку 3 выше. В 2019 году Apple получила патент на поворотную камеру, встроенную в конец ремешка. Примечательно, что уже есть сторонний аксессуар Apple Watch под названием Wristcam, который функционирует аналогичным образом.
Очевидно, что это была концепция, над которой кто-то в Apple много думал. И есть законные причины, по которым клиенту может понадобиться камера для умных часов. Одним из главных преимуществ Apple Watch является то, что они позволяют пользователям iPhone тратить меньше времени на свои телефоны и, возможно, даже оставлять их без присмотра, выполняя поручения, отправляясь на прогулку или занимаясь спортом. Но кто не был на улице и не видел того, что хотел бы сфотографировать, чтобы отправить друзьям и семье? Без вашего телефона у вас не было бы никаких доказательств. И, как говорится, фото или этого не произошло.

Более рискованным вариантом использования было бы незаметно сделать снимок или снять запись. Это, а также технологические ограничения, такие как размер и батарея, могут быть причиной того, что мы не видели, чтобы многие компании изучали эту идею дальше. Как продемонстрировал оригинальный Google Glass, мысль о том, что кто-то может тайно записывать вас, вызывает у многих дискомфорт. (Хотя, по слухам, Meta** работала над умными часами не с одной, а с двумя камерами, прежде чем якобы отказаться от этой идеи.)
В любом случае, стоит повторить, что патенты ничего не гарантируют. Крупные технологические компании часто на всякий случай активно подают заявки на патенты на идеи. Вполне возможно, что Apple долго и упорно думала о камерах и решила отказаться от этого, или есть шанс, что будущие Apple Watch могут иметь встроенную камеру. В любом случае, стоит отметить, что носимые камеры — это то, о чем думают технологические компании, и что это может означать для умных часов в будущем.