🦟🦟🦟Гнус: двукрылые кровососы атакуют жителей России. Как с ними бороться? Что делать? Чем лечить укусы этих вампиров?
Гнус: двукрылые кровососы атакуют жителей России. Как с ними бороться? Что делать? Чем лечить укусы этих вампиров?

Наверное каждый заметил, что в этом году комары, мошки, мухи и прочий гнус, буквально атаковал население России своей активностью... В этом году как никогда слишком много комаров! Комары буквально повсюду...
У меня складывается впечатление, что миллионы американских боевых комаров перешли в атаку на россиян.
Согласно медицинской статистике, каждый год комары убивают больше людей, чем любое другое существо в мире.
Комары могут заразить человека вирусом желтой лихорадки, Денге, лихорадки Западного Нила, вирусом Чикунгунья, Карельской лихорадки.
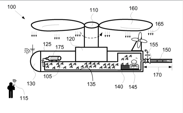
Патент US8967029B1
"Правительства искали оружие, которое можно было бы использовать для доставки химикатов, вирусных и бактериологических веществ для летального и несмертельного применения скопившимся массам людей. Нелетальное использование обычно включает операции по поддержанию мира для использования в действиях, не считающихся «военными операциями», а также против террористов или государственных субъектов в войне. В этом смысле такое оружие может использоваться для борьбы как с вооруженным противником, так и с гражданским населением. Не все виды использования такого оружия запрещены договором. Настоящее изобретение способно доставлять летальные и несмертельные токсины, включая любой агент, который может переносить и вводить комар."

Это выдержка из американского патента US8967029B1 «Система выпуска ядовитых комаров с воздуха». Да-да, господа! Это всё запатентовано. А для размножения и сброса боевых комаров предназначен дрон...

Борьба с гнусом
Бабушкин рецепт от назойливого гнуса:
обычное растительное масло (лучше рафинированное) в течение 2-3 недель настоять в темном и прохладном месте на бутонах гвоздики, листьях полыни, петрушки, табака, эвкалипта, пихтовых веточках, стручках ванили или семенах аниса.
- Возьмите обычное растительное масло;
- Добавьте в него гвоздику, полынь, петрушку, табак, эвкалипт, пихту, ваниль и семена аниса;
- Полученную смесь оставьте недели на три настояться в тёмном и прохладном месте.
Дымовая шашка "Тихий вечер"
Чудо способ от комаров
Несколько ночей не могли нормально спать: комары буквально заедали. Не знаю, где эти кровопийцы прячутся в городской квартире от жары... Может быть в аквариуме? Или за шкафами? Но, ночью начинается... Они атакуют без звука, по таким лихим траекториям: НЛО могут позавидовать. Долго мучились, пока не придумали средство от напасти, насмотревшись роликов на Ютубе.
Итак, в блюдце наливаем немного уксуса, туда же кладём ломтик лимона, в лимон вставляем 7-8 гвоздик (специя такая). Блюдце ставим в комнате приблизительно в том месте откуда вылетают комары. Всё. Ночью спим спокойно, ни один вампир не побеспокоил. Уксусный запах немного неприятен, но какие это мелочи по сравнению с зудом от укусов и волдырями...
Эфирные масла от гнуса
Что поможет избавиться от назойливых комаров и другого мелкого гнуса?
В СССР знали средство от комаров и спасение от гнуса
А вы помните мужской одеколон "Гвоздика"?
Помню, в пионерском лагере в далёком советском детстве, мы натирали руки и ноги, другие открытые части тела этой парфюмерной жидкостью.
Как бороться с укусами гнуса
Место укуса можно смазать кашицей из капусты. А можно и лист мяты приложить к месту укуса или сок лимона. Молочко от одуванчика тоже вам в помощь.
А ещё меня бабуля в детстве научила на комариных укусах делать крестики ногтем. И действительно, зуд от укусов становится меньше...
А как боретесь с гнусом, господа? Какие репелленты используете против гнуса?
Пишите свои способы избавления от гнуса в комментариях.
Заранее благодарна за ваши жизненные советы!
А какими средствами вы спасаетесь от комаров и другого гнуса?
Проголосуйте, чтобы увидеть результаты
Да, в этом году очень много комаров, на огороде прямо вечером невозможно что-то делать, атакуют целыми стаями. Пользуемся бальзамом "Звездочка" и различными маслами. А еще арабскими масляными духами, комары близко не подлетают)
Я тоже бальзамом "Звёздочка" пользуюсь))).
Мы живём возле Москвы-реки, в квартире комаров не наблюдаются, правда, там, на набережной, очень много птиц, уток особенно, видимо, у них вкусные обеды)
А вот на даче да, комаров хватает, без всяких дымовых шашек или спиралей Раптора на веранде не поешь! А на ночь тоже Раптор в розетке - и никаких комаров, которые мешали бы сладко спать)
Скорее всего. Наверное, утки поедают мотыль...
Ну, без этого на природе точно не обойтись!
К кровососущим насекомым, нападающим на животных, относятся представители отряда Двукрылые мухи-жигалки, комары, слепни, оводы, мошки, мокрецы и мухи
Есть такие мелкие мошки, после укуса которых остаются синяки! В их слюне какой-то яд что-ли...
Использую "Рефтамид" универсальный, чтобы дойти до дачи хватает. Жена делает мазилку - растительное масло с ванилином. Ну и "Гвоздика" тоже есть.
С ними надо бороться, иначе сожрут!
Гнус такой...Я был на Севере, на Печоре. там дышать невозможно в августе месяце. Даже в нос и рот набиваются. Тучами летают. ПОчему именно на Севере такое обилие комаров? И никуда не спрячешься. Нам выдавали сетки москитные для передвижения по территории. Просто полный кошмар был. Никогда и нигде не было столько гадостей у меня в носу и в горле. А местные смеются. Они-то просекли свою фишку. Какие-то препараты покупают. И мажутся ими.
Какой ужас, Александр Петрович! 😳 😳 😳